
Lumia
IT科技網Lumia專題欄目,提供Lumia相關知識資訊文章,包括Lumia資訊、Lumia知識等,精心選擇與Lumia的相關信息,讓您第一時間擁有Lumia資訊的信息。
只能呵呵 Lumia 950/XL不支持手套模式
早在2012年,諾基亞就推出了名為超敏感觸摸技術(Supersensitivetouch)用來構建智能手機的顯示面板,可以更方便用戶進行輸入,就算是帶著手套依然毫無障礙。后來這項技術被一直沿用,包括之前的Lumia920、Lumia930等。...
再次發售 無鎖版Lumia 950美國官網現貨
上周微軟開始在其美國在線商店銷售無鎖版Lumia950XL的改版機;現在微軟美國在線商店發售標準版本的Lumia950。據產品頁面顯示,Lumia950XL為現貨銷售,而Lumia950將于2月8日發貨。Lumia950XL現貨銷售。...
如此唯美 疑似Lumia 650渲染圖曝光
目前微軟已經發布了三款搭載Windows10Mobile系統的新機,至于第四款新機Lumia650有消息稱其將于明年上半年發售,根據此前曝光的配置該機將主打入門級市場,近日外媒WindowsCentral就放出了一組疑似Lumia650的渲染圖,。...
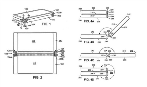
微軟新專利曝光 Lumia或將配備第二屏幕
微軟的一項新專利是用于手機和超級本的鉸鏈設計機制,具體來說,它幾乎完美地解決了手機無法張開180度的缺陷,關鍵是還能保持美感,不犧牲電池、厚度等參數。...