谷歌申請人工晶狀體裝置專利 植入眼球

2016-05-23 12:51:56 來源:互聯網作者:vousmevoyz 人氣: 次閱讀 292 條評論

Google除了消費者科技產品外,對于醫療方面也有開發,最近他們申請的專利,就是一個可以植入眼球的人工晶狀體,用作矯正視力...

  Google除了消費者科技產品外,對于醫療方面也有開發,最近他們申請的專利,就是一個可以植入眼球的人工晶狀體,用作矯正視力...

  Google除了消費者科技產品外,對于醫療方面也有開發,最近他們申請的專利,就是一個可以植入眼球的人工晶狀體,用作矯正視力,當然也有其他的功能。

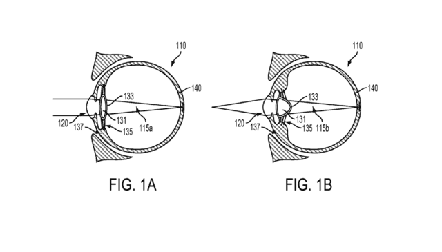
植入眼球 谷歌申請人工晶狀體裝置專利

谷歌申請人工晶狀體裝置專利

植入眼球 谷歌申請人工晶狀體裝置專利

谷歌申請人工晶狀體裝置專利

  據專利申請中提及,這個裝置可以在移除眼睛內的晶狀體后,使用注射的方式達成更換手術,而不需要更大型的手術。這個裝置除了可以矯視和減低手術創傷之外,同時擁有更多的額外功能,在人工晶狀體之外,更有一個集合儲存、感應器、電池和無線通訊功能的模組,可以與眼球外的裝置互動,提供運算能力。而這個眼球內的電池可以利用‘取電天線’的技術來得到能量。暫時Google仍然未有實在應用這個科技的產品。

  Google在2014年已經有智能隱形眼鏡專利,可以偵測血糖水平,后來與Novartis合作之后,現在仍然在開發當中。這個人工晶狀體專利會何時實現仍然未知,不過對于眼科患者來說,也是一個值得期待的科技。

您可能感興趣的文章

相關文章