蘋果Apple Watch2將內置攝像頭 蘋果新專利曝光

2016-06-20 08:24:16 來源:互聯網作者:root 人氣: 次閱讀 274 條評論

蘋果AppleWatch2將內置攝像頭,根據國外媒體的報道,最近美國專利商標局曝光了一份來自蘋果的專利文件,上面暗示AppleWatch2將會內置攝像頭。...

蘋果Apple Watch2將內置攝像頭,根據國外媒體的報道,最近美國專利商標局曝光了一份來自蘋果的專利文件,上面暗示Apple Watch2將會內置攝像頭。...

蘋果Apple Watch2將內置攝像頭,蘋果新專利曝光:傳聞稱今年9月份除了iPhone 7手機之外,蘋果還會發布新一代智能手表,盡管蘋果Apple Watch現在的銷售數據還是很可觀的,但產品本身存在短板,市場隨著時間延續慢慢還是會呈現下坡狀態,想要從新吸引消費者只能靠新版本。

蘋果Apple Watch2將內置攝像頭  蘋果新專利曝光

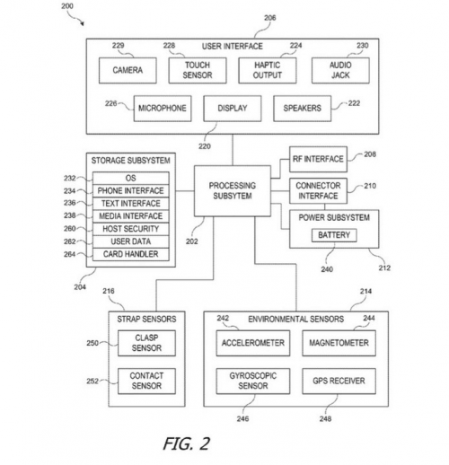
蘋果Apple Watch2究竟有什么不同?根據國外媒體的報道,最近美國專利商標局曝光了一份來自蘋果的專利文件,上面暗示Apple Watch2將會內置攝像頭。

這個攝像頭究竟有什么作用?專利當中并沒有明確說明,但是業內人士認為這個攝像頭應該不會用來視頻通話或者完成類似的復雜工作,而是專門針對移動支付和移動社交等領域的模塊,包括方便用戶掃描二維碼等等。

另外,Apple Watch2將會進一步提升產品性能,外觀也會得到細微調整,最重要的是續航能力得到延長。

以上就是小編為大家分享的蘋果Apple Watch2將內置攝像頭,蘋果新專利曝光的相關內容,掃描下方二維碼關注IT科技網官方微信,獲取更多內容!

您可能感興趣的文章

相關文章